Όπως εξηγεί ο Guardian, οταν φτάνει μία παραγγελία στις γιγάντιες αποθήκες της Amazon, εμφανίζεται στον υπολογιστή χειρός που κρατά κάθε εργαζόμενος στις γιγάντιες αποθήκες της. Στη συνέχεια ο εργαζόμενος πρέπει να βρει το προϊόν σε ένα από τα ράφια ή τα κιβώτια, να το βάλει σε ένα ταχυδρομικό πακέτο και να προχωρήσει στην επόμενη παραγελλία.
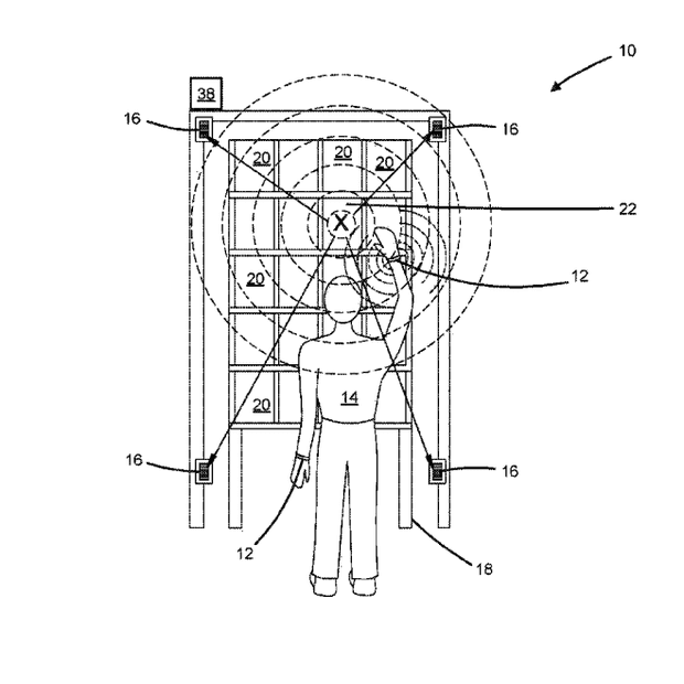
Τα βραχιόλια που σχεδιάζει η Amazon έχουν στόχο να παρακολουθούν μέσω υπερήχων τις κινήσεις των χεριών των εργαζομένων που ψάχνουν για αντικείμενα στην αποθήκη. Μία από τις πατέντες που κατοχύρωσε η εταιρεία αναφέρει ότι το βραχιόλι θα καθοδηγεί το χέρι του εργαζόμενου στη σωστή κατεύθυνση. Όπως υποστηρίζει η εταιρεία, σύμφωνα με τους New York Times, η νέα αυτή τεχνολογία θα μεγιστοποιεί την απόδοση των εργαζομένων, μειώνοντας σημαντικά τον χρόνο που χρειάζονται ώστε να βρουν το αντικείμενο που ψάχνουν στην αποθήκη.
Οι επικριτές όμως αυτής της καινοτομίας τονίζουν ότι πρόκειται για ένα νέο μοντέλο παρακολούθησης των εργαζομένων από την εταιρεία, που θα μπορεί κρίνοντας από τις κινήσεις των χεριών, να παρακολουθεί κυριολεκτικά κάθε τους κίνηση και μάλιστα να τους επαναφέρει άμεσα «στην τάξη». Η Amazon επίσης έχει χρησιμοποιήσει ξανά πειραματικές τεχνολογίες στο εργασιακό της περιβάλλον, πριν τις βγάλει στο εμποριο.
Όπως προσθέτουν οι New York Times, νυν και πρώην υπάλληλοι της Amazon καταγγέλλουν ότι η εταιρέια χρησιμοποιεί ήδη παρόμοιες μεθόδους παρακολούθησης και ασφυκτικά χρονικά πλαίσια, μετατρέποντας τους ουσιαστικά σε ρομπότ. «Μετά από έναν χρόνο δουλειάς, ένιωθα ότι είχα γίνει μία έκδοση των ρομπότ με τα οποία δούλευα μαζί» αναφέρει ο Μαξ Κρόφορντ, πρώην υπάλληλος της εταιρείας, που περιγράφει ότι έπρεπε να βρίσκει και να πακετάρει εκατοντάδες αντικείμενα σε μία ώρα, ε ρυθμό τόσο εξοντωτικό «που μία μέρα, έπεσα κάτω από τη ζάλη»
«Δεν υπήρχε χρόνος να πας στην τουαλέτα» συνεχίζει. «Έπρεπε να ολοκληρώσεις τη διαδικασία για ένα πρϊόν σε δευτερόλεπτα και μετά να συνεχίσεις στο επόμενο. Αν δεν έπιανες τους στόχους, απολυόσουν». Ο Κρόφορντ δούλεψε συνολικά πάνω από δύο χρόνια στις αποθήκες και έπειτα παραιτήθηκε για λόγους υγείας. «Θέλουν να μετατρέψουν τους ανθρώπους τους σε ρομπότ» υποστηριζει. «Η ρομποτική τεχνολογία δεν είναι έτοιμη ακόμα, οπότε χρησιμοποιούν ανθρώπους – ρομπότ».
Μία μεγάλη έρευνα του BBC το 2016 είχε αποκαλύψει ότι οι εργαζόμενοι στις υπηρεσίες ντελίβερι της Amazon δουλέυουν σε εξαντλητικούς ρυθμούς, προσπαθώντας να ανταποκριθούν σε προθεσμίες που καθορίζονται από υπολογιστές, με αποτέλεσμα ακόμα και να πέφτουν σε λήθαργο πάνω στο τιμόνι,
Η Amazon, κολοσσός του εμπορίου μέσω διαδικτύου, ανήκει στον πλουσιότερο άνθρωπο στον κόσμο, τον Τζεφ Μπέζος. Σύμφωνα με τον δείκτη Bloomberg Billionaires Index, η περιουσία του Μπέζος έσπασε το 2017 ο φράγμα των 100 δισ. δολαρίων, φτάνοντας στα 105,1. Αυτήν την περίοδο η Amazon ετοιμάζει τη δεύτερη έδρα της, για την οποία έχει προβεί σε έναν ιδιαίτερο… πλειστηριασμό, ζητώντας από τις ενδιαφερόμενες αμερικανικές πόλεις και πολιτείες να καταθέσουν προτάσεις (που περιέχουν τεράστιες φοροελαφρύνσεις) με σκοπό να «κερδίσουν» την επένδυση της ετιαρείας, ύψους 5 δισ. και με 50.000 θέσες εργασίας. Από τις 238 προτάσεις, η τελική λίστα των υποψηφίων έχει μειωθεί, όπως ανακοίνωσε η εταιρεία, στις 20.